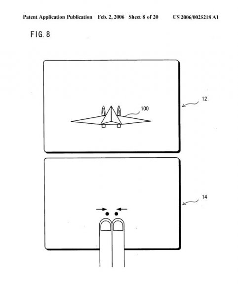
Yhdysvaltojen patenttitoimisto on julkaissut tietoja Nintendon hakemasta patentista, joka koskee kosketusherkkää näyttöä DS:n tapaan. Poiketen Nintendon menestyksekkäästä käsikonsolista patentin mukainen näyttö kykenisi tunnistamaan kosketuksen kahdesta pisteestä kerrallaan. Suunnitelmien sisältämät piirrokset havainnollistavat, kuinka tälläistä ominaisuutta käytettäisiin esimerkiksi avaruusaluksen ohjaamiseen.
Tietojen pohjalta voitaisiin olettaa, että Nintendolla on suunnitelmissa julkaista tulevaisuudessa DS:stä uusi versio. On myös spekuloitu kyseisen teknologian liittyvän yhtiön Revolution-konsolin ohjaimeen. Villeimpiä visioita hillitsee kuitenkin se, että patenttia on haettu jo heinäkuussa 2004. Kyseessä saattaisi siis olla DS:n tai Japanin markkinoille lähipäivinä iskevän DS Liten luonnostelma, mikä selittäisi myös pienet eroavaisuudet piirroksissa ja lopullisessa versiossa.
Nintendo ei ole kommentoinut vielä asiaa.








