Nintendon jättämät patenttihakemukset valottavat hieman pelijätin ideoita liittyen Wii U:n kosketusnäyttöön ja 3DS-käsikonsolin lisätyn todellisuuden peleihin.
Japanilaisyhtiön jättämä patenttihakemus esittää Wii Remoten ja Wii U:n ohjaimesta löytyvän näytön vuorovaikutusta keskenään. Esimerkkihahmotelmassa televisioruudulla näkyvät hahmot kohtaavat vihollisuhan, jolta pakoon pääsemiseksi hahmoja siirretään turvaan Wii U:n ohjaimen näytölle. Hahmojen siirtäminen ruudulta toiselle hoidetaan raahaamalla pelihahmo jo Wiillä käytetyn Wii Remote -ohjaimen avustuksella.
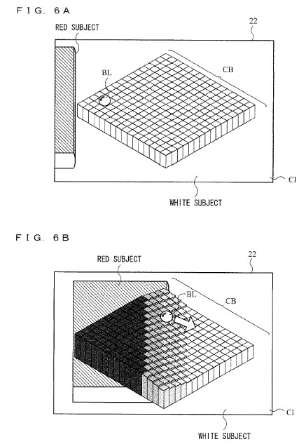
Toinen patenttia kaipaava idea on eri väreihin reagoivat lisätyn todellisuuden pelitilanteet. Esille putkahtanut dokumentti esittelee suunnitelman, jossa 3DS:n kameralla kuvatut eriväriset pinnat vaikuttavat pelien tapahtumiin. Yksi esimerkki älynväläystä käyttävästä tilanteesta on kuvata laitteen kameralla sinistä pintaa, joka saa aikaan laitteen näytöllä esiintyvien liekkien sammumisen.
Patenttihakemuksien sisällöstä lukiessa lienee syytä muistaa, että niiden jättäminen ei välttämättä takaa, että ideat päätyvät lopulta peleihin asti. Lisää Nintendon suunnitelmia kuultaneen muutaman viikon kuluttua, kun japanilaisyhtiö pitää oman tiedotustilaisuutensa E3-messuilla kesäkuun 5. päivänä.









