Nintendo esitteli vuoden 2009 E3-messuilla Wii Vitality Sensor -nimisen apuvälineensä, jonka kaavailtiin mittaavan pelaajan pulssin tämän sormenpäästä. Laitetta ei vielä saatu markkinoille, mutta nyt biometrisen datan käyttöön pelitilanteissa tähtää jo toinenkin valmistaja, sillä Sony on hakenut patenttia pitkälti samanlaista ideaa toteuttaville ohjaimille.
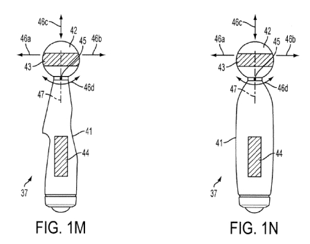
Joulukuussa 2010 jätetty patenttihakemus esittelee biometrisiä tietoja keräävät DualShock 3- ja PlayStation Move -ohjaimet, sekä PlayStation Vitaa muistuttavan kannettavan laitteen.
Patenttihakemuksessa nimetään useita asioita, joihin käyttäjältä mitatut tiedot vaikuttavat, kuten pelaajan stressitason mukaan vaihtuvat aseiden ominaisuudet. Jos räiskintää pelatessa stressitaso on korkealla, on tähtääminen vaikeampaa. Tästä suorana esimerkkinä mainitaan kiikarikiväärillä tähtäämisen vakaus, joka vaihtelee käyttäjän rentoutuneisuuden mukaan.
Stressitaso vaikuttaa hahmotelman mukaan muihinkin asioihin: taustamusiikkiin, hahmojen tekemiin liikkeisiin, pelin vaikeustasoon ja energiamittariin, joka tyhjenee sitä nopeammin, mitä stressaantuneempi käyttäjä on.
Nintendon Wii Vitality Sensorin kehitys on ollut työn alla jo pidemmän aikaa. Viimeisin tieto lisälaitteen kuulumisista on tämän vuoden huhtikuulta, jolloin Nintendolta kerrottiin sen toimivan noin 80 prosentilla sen käyttäjistä. Laitteen kehityksen kerrottiin vielä olevan käynnissä, jotta lukema saataisiin nostettua 99 prosenttiin asti.











Kommentit
Ei se pelaajan stressitaso ainakaan l...
Ei se pelaajan stressitaso ainakaan laske jos peli muuttuu sitä vaikeammaksi mitä stressaantuneempi on !
Lääkäriltä betasalpaajat tai diapamit...
Lääkäriltä betasalpaajat tai diapamit messiin niin alkaa peli kulkemaan.
Stressin hallinta olisi kaikille hyvä...
Stressin hallinta olisi kaikille hyvästä. Itseäni ainakin kiinnostaisi nähdä miten tätä ominaisuutta peleissä käytettäisiin. Mutta epäilen että ei toimi tai kovinkaan moni pelintekijä ei ala käyttämään hyväkseen näitä ominaisuuksia. Movella hieman samanlainen ongelma, ei kovinkaan moni PS3 peli (mitä itse pelaan ja jotka kiinnostaa HUOM!) tue tätä movella ohjaamista.
Ostin taannoin lautapelin joka perust...
Ostin taannoin lautapelin joka perustuu valheenpaljastukseen jossa pelaaja sykkeen muutoksia (=stressitaso) mittaava laite kertoo valehteleeko pelaaja vai ei. Parin pelin ja laajamittaisten testien jälkeen tuli todetuksi että laite on aivan täyttä fuulaa ja sen käyttöarvo on magic eight ballin kanssa samalla tasolla. Tai noh, testiemme mukaan magic eight ball arvaa useammin oikein.
Liiketunnistus oli hyvä lisä pelaamiseen ja nyt peliyhtiöillä on kova tarve kehittää uusia innovatiivisia tapoja pelata, keinoja erottautua kilpailijoista. Tämä EI ole sellainen joka toisi rahat kirstuun.
Kuinkahan esimerkiksi hanskojen käytt...
Kuinkahan esimerkiksi hanskojen käyttö vaikuttaisi peliin...
Kommentoi
Kirjaudu kommentoidaksesi